Direct la EasyBox
Deschidere colet
Fara dobanda
Taxa Verde
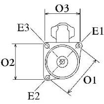
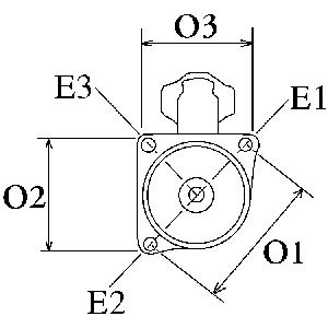
Demaror HC-CARGO 12V 1,7kW pentru SEAT CORDOBA, IBIZA III; SKODA FABIA I, II, ROOMSTER; VW GOLF V, POLO, POLO IV 1.4D/1.9D/2.0D
Direct la EasyBox
Deschidere colet
Fara dobanda
Taxa Verde
| Motor | Codurile motorului | Anii de producție | kW | CP | cmc |
|---|---|---|---|---|---|
| Motor 1.4 TDI | Codurile motorului BNM | Anii de producție 2005/05 - 2009/11 | kW 51 | CP 70 | cmc 1422 |
| Motor 1.9 SDI | Codurile motorului ASY | Anii de producție 2002/09 - 2009/11 | kW 47 | CP 64 | cmc 1896 |
| Motor | Codurile motorului | Anii de producție | kW | CP | cmc |
|---|---|---|---|---|---|
| Motor 1.4 TDI | Codurile motorului BNM | Anii de producție 2005/05 - 2009/11 | kW 51 | CP 70 | cmc 1422 |
| Motor 1.9 SDI | Codurile motorului ASY | Anii de producție 2002/02 - 2005/12 | kW 47 | CP 64 | cmc 1896 |
Starter (12V, 1,7kW) fits: SEAT CORDOBA, IBIZA III; SKODA FABIA I, FABIA I PRAKTIK, FABIA II, ROOMSTER, ROOMSTER PRAKTIK; VW GOLF V, POLO, POLO IV 1.4D/1.9D/2.0D 11.99-04.12
Aprecierea ta pentru recenzie nu a putut fi trimisa
Reclama un comentariu
Raport trimis
Reclamatia tau nu a putut fi trimisa
Scrie-ti recenzia
Recenzia a fost trimisa
Recenzia ta nu a putut fi trimisa




